登录
注册
简
繁
En
首页
产品中心Products
MOSFET场效应管
OVP过压/OCP过流保护芯片
Li-ion Charger锂电池充电芯片
Li-ion Protector锂电池保护芯片
Li-ion charge-Discharge锂电池充放电芯片
LDO线性稳压芯片
Voltage Detector电压检测芯片
DC-DC Boost升压芯片
DC-DC Buck降压芯片
DC-DC Buck-Boost升降压芯片
PD/QC3.0快充协议芯片
PD/QC快充电压诱骗芯片
LED Drive LED驱动管理芯片
ESD静电保护管
解决方案
联系我们
技术支援与联系我们
代理商
公司简介
产品出货标签说明函
工程师论坛
技术文章
输出电压计算器
当前位置:
首页
DC-DC Buck降压芯片
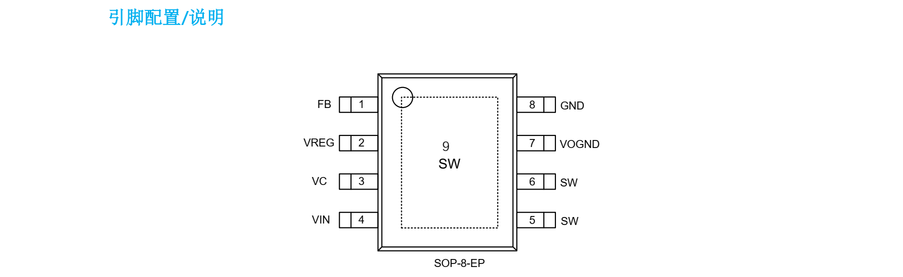
PW2906
PW2906
型号
PW2906
MODE
Asynchronous
Vin Range
12V~90V
Vout Range
1.3V~20V
Iout @MAX
0.6A
FOSC
150KHZ
Iq typ
2.5mA
Package
SOP8-EP
生产
量产
下载
PW2906_datasheet_www.pwchip.com.pdf
下载
PCB封装库与3D元件.zip
下载
PW2906_DEMO_PCB.zip
产品详情
PCB设计建议
发表评论
评论列表
徐浩然
2022-10-04 14:16:16
参数非常棒的产品,支持
1/1
发表评论
称呼
邮箱
接收邮件提醒
内容
评论通过审核后显示。
移动访问